Автор Тема: TYT MD-380 - вопросы, проблемы, впечатления владельцев  (Прочитано 44380 раз)

0 Користувачів і 1 Гість дивляться цю тему.

Offline UT7UX

  • Hero Member
  • *****
  • Topic Author
  • Повідомлень: 734
  • Karma: +5/-0

Источник картинки
Начну с общеизвестных фактов. MD-380 выпускается в нескольких вариантах частотных диапазонов (в том числе 136-174MHz и 400-480MHz), комплектуется двумя антеннами (более компактной и более эффективной), одним аккумулятором и настольной зарядкой. Есть и обычная прищепка на пояс. Поддерживается FPP, но режима VFO нет, то есть при необходимости можно оперативно внести изменения в настройки, не прибегая к программатору.

Первый взгляд мельком. Сразу понравилось:
- станция выглядит добротно, ощущается надежно, ее приятно держать в руках
- оценка качества звука требует больше времени на тесты, а вот приличный запас громкости нельзя не заметить сразу
- в аналоговом режиме поддерживается привычная широкая девиация помимо узкой, есть CTCSS, DCS и DTMF
- комплектный аккумулятор на 2000mAh

Сразу не понравилось:
- идиотская "китайская" раскладка клавиатуры, ничем не спровоцированное неудобство
- светодиоды настольной зарядки слишком яркие и не отключаются в отсутствие станции/батареи в зарядном стакане

Спорные решения:
- цветной телевизор выглядит привлекательно и потенциально намного информативнее черно-белого, но совершенно невидим без подсветки
- яркость подсветки не регулируется, пониженная яркость отлично пришлась бы для непрерывного режима подсветки

Вопросы, гипотетически могущие быть решенными в обновленных прошивках:
- слишком громкие служебные звуки, сейчас их можно только включить или отключить, тогда как хотелось бы иметь и промежуточные значения
- мал выбор вариантов продолжительности подсветки, есть несколько коротких интервалов и непрерывно
- возможности цветного телевизора не раскрыты, площадь экрана и цветовой охват могли бы позволить выводить больше информации одновременно с лучшей читаемостью
- в CPS отсутствует поддержка Ctrl+C/Ctrl+V и копирования канала, поэтому создание codeplug’а с нуля более трудоемко

В общем, на первый взгляд, в руках станция воспринимается как продукт от бренда с мировым именем, однако в деталях вылазят мелкие, часто несущественные, но все же недоработки, немного портящие приятное впечатление, причем большая часть недоделок может быть исправлена программно, а идиотская раскладка клавиатуры - в последующих аппаратных ревизиях. Одним из важнейших достоинств станции является относительно невысокая стоиомсть, прощающая мелкие огрехи и усиливающая крупные достоинства, а отсутствие GPS, роуминга и Bluetooth в этом ценовом диапазоне никак нельзя считать недостатком.
 

Offline UT2UU

  • Hero Member
  • *****
  • Повідомлень: 2298
  • Karma: +100/-0
Главного не сказал - как она подцепилась к нашему DMR ?
 

Offline UT7UX

  • Hero Member
  • *****
  • Topic Author
  • Повідомлень: 734
  • Karma: +5/-0
Еще из понравившегося: приятное своей простотой и понятностью "аналоговое" управление ручками сверху. Селектор каналов - обычный, на шестнадцать положений, с упорами. По сути это дает 16 каналов на зону без погружения в меню, правда при этом селектор каналов нельзя использовать как энкодер для прочих функций и настроек. Ручка громкости с выключателем, однако выключатель не тупо рвет цепь питания, а срабатывает как кнопка включения. Вращение ручки громкости временно выводит на телевизор условную шкалу громкости. Не обошлось и без спорных решений - на ручках нет никаких меток, по которым можно визуально определить номер канала и примерный уровень громкости. Незначительный поворот ручки громкости не вызывает на экран шкалу громкости и никак не индицируется.
В станции отсутствует программная регулировка усиления микрофонному входу, но это несложно скомпенсировать подбором расстояния до микрофона под свой голос и свою манеру вести QSO.
Приятно, что экран немного утоплен, по этому его механическое повреждение маловероятно, он не должен царапаться в повседневной эксплуатации.
 

Offline UT7UX

  • Hero Member
  • *****
  • Topic Author
  • Повідомлень: 734
  • Karma: +5/-0
Цитата: "UT2UU" post=20496
Главного не сказал - как она подцепилась к нашему DMR ?

Спасибо UZ5DU - после получаса консультаций по телефону удалось слепить codeplug для тестового включения. В принципе подцепилась на отлично, некоторые оставшиеся вопросы касаются не самой станции, а ретранслятора/рефлекторов (при групповом вызове 255 есть ретрансляция в XRF255B и слышимость в D-Star, а вот сам XRF255B в 255 не ретранслируется и вопрос не в настройках станции - ретранслятор ничего не передает, вообще несущей нет). Нормально поговорить удалось только с 9990 :-D

Codeplug пока не выкладываю, надо бы допилить до приличного вида.
 

Offline UT7UX

  • Hero Member
  • *****
  • Topic Author
  • Повідомлень: 734
  • Karma: +5/-0
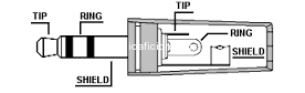
Станция подключается непосредственно к USB порту, но поскольку у нее отсутствует стандартный mini(micro)USB, то необходимо изготовить переходник на Kenwood'овскую вилку для гарнитуры.

GND (USB 4) -> 2.5mm S

D+ (USB 3) -> 3.5mm T

D- (USB 2) -> 2.5mm R

+5 (USB 1) -> не используется

 

Стандартный TRS
 

Гарнитуры подходят от Kenwood.

Лично не проверял.
« Останнє редагування: Січня 29, 2021, 20:40:36 від UT5UKA »
 

Offline UT7UX

  • Hero Member
  • *****
  • Topic Author
  • Повідомлень: 734
  • Karma: +5/-0
Для обновления прошивки необходимо отключенную станцию присоединить к компьютеру, затем удерживая нажатыми две верхних кнопки (программируемая и PTT) включить станцию. Станция начнет мигать светодиодом, сигнализируя о готовности к прошивке. На компьютере запустить прошивальщик, нажатием на Open Update File выбрать желаемую версию, а нажатием на Download Update File запустить процесс.

 
« Останнє редагування: Січня 29, 2021, 20:41:56 від UT5UKA »
 

Offline UT7UX

  • Hero Member
  • *****
  • Topic Author
  • Повідомлень: 734
  • Karma: +5/-0
Комплектные антенны не лучшим образом подходят под наши частоты. Более короткая имеет довольно широкую полосу выше наших 430-440MHz, более длинная имеет еще более широкую полосу выше наших 430-440MHz плюс не имеющий практической ценности диапазон в районе 330MHz. Для замера антенны накручивались на портативный анализатор как на станцию - в случае работы антенны с реальной станцией графики были бы немного другими, однако общая тенденция прослеживается. Как можно аккуратно разобрать антенны, чтобы подтянуть к нашим частотам?

Короткая, диапазон 400-480MHz.

 

Длинная, диапазон 300-600MHz.

 
« Останнє редагування: Січня 29, 2021, 20:43:06 від UT5UKA »
 

Offline us5eqq

  • Full Member
  • ***
  • Повідомлень: 148
  • Karma: +0/-0
Сам тоже уже стал обладателем подобных радиостанций , ехали почти месяц так как китайцы хрен знает чем отправили вместо обычной почты.
Очень радует , что станция супергетеродинная, а не прямого преобразования.







 

Offline UT7UX

  • Hero Member
  • *****
  • Topic Author
  • Повідомлень: 734
  • Karma: +5/-0
CPS
 [ Invalid Attachment ]
 

Offline UT7UX

  • Hero Member
  • *****
  • Topic Author
  • Повідомлень: 734
  • Karma: +5/-0
Changelog:

1. When you unlock the radio, you need to press twice then you will enter into menu function, which is
addressed
2. When scanning, we cannot know which frequency or which channel coming with signals, and this upgraded
software will solve this issue, please kindly noted that if you want to know which frequency or which channel
coming with signals, you should set scan digital/analog hand time more than group/private call hang time:
General setting->scan->scan digital/analog hang time=5000ms when default setting for group call hang
time is 3000ms and private call hang time is 4000ms, and the more time gap is, the longer the channel or
frequency with signals will stay, after allotted staying time, the radio will skip and scan again
3. This upgraded also will be solve the problem that the radio will reboot when scanning
4. This upgraded will add one function to radio that you can choose zone area by sign key assignment in the
buttons definitions setting
5. Upgraded the encryption into enhanced one with 128bits
6. Solve the problem that backlight is always on in analog mode
7. Solve the problem that contact list will be wrong when it is more than 500
8. Correct spelling of privite to private
9. Solve the problem that when talkaround is activated via menu, radio cannot talk with Motorola
10. Solve the problem that when you store the contact list more than 600, the radio will reboot
11. Power on message can be defined by customers, there are two lines, 10 digits in maximum for each
(General setting-intro screen)
12. Solve the problem of wrong battery indicator during battery drains.


D002.034

13. Correct spelling of repeatar in Utilities-program radio-repeatar to repeater
14. Solve the wrong display when deleting entry from Missed List. When the last entry is deleted
the screen displays:“??? ??? ?”
15. Solve the problem when we program the radio, there will be some data missing.



 [ Invalid Attachment ]
 

Offline UR8US

  • Global Moderator
  • *****
  • Повідомлень: 435
  • Karma: +14/-0
Вчера приехала радиостанция Retevis RT3. Судя по всему, полностью аналогична MD-380. Firmware ver. D002.032. CP ver. 1.30.

Прошил программой от MD-380. Файл взял из форума, test new.rdt. Свой номер, конечно же, вставил. Через репитер UR0UVU вроде бы работает.

Исследую дальше.
 

Offline UT8UB

  • Sr. Member
  • ****
  • Повідомлень: 327
  • Karma: +3/-0
Цитата: "UR8US" post=20767
Вчера приехала радиостанция Retevis RT3. Судя по всему, полностью аналогична MD-380. Firmware ver. D002.032. CP ver. 1.30.

Прошил программой от MD-380. Файл взял из форума, test new.rdt. Свой номер, конечно же, вставил. Через репитер UR0UVU вроде бы работает.

Исследую дальше.


я так же присматриваю такое радио
вопрос
-как  ваши впечатления
-параметры измеряли
чувство и мощность хотя-бы
нашел на Амазон
http://www.amazon.com/Retevis-RT3-Digital-400-480MHz-Scrambler/dp/B011O58NCG
достойная комплектация  все в сборе

радио- заряд.стакан-
мануал и программ. кабель
179уе
плис пару предложений о  радио..
ждем-с.....
73
 

Offline UR8US

  • Global Moderator
  • *****
  • Повідомлень: 435
  • Karma: +14/-0
К сожалению, мне не с чем сравнивать. :-)
 

Offline us5eqq

  • Full Member
  • ***
  • Повідомлень: 148
  • Karma: +0/-0
Эксплуатирую это радио уже около трех недель, в принципе доволен, за эту цену очень качественное радио. Приемник по чувствительности соответствует заявленному, а мощность 4.2Вт.
Прошивка доступна по ссылке http://radioprofi.com.ua/load/radiostancii_skhemy_instrukcii_programmy/tyt_radio/variant_proshivki_tyt_md380/41-1-0-177
Периодически обновляю.
О первых впечатлениях написал тут
 

Offline UT8UB

  • Sr. Member
  • ****
  • Повідомлень: 327
  • Karma: +3/-0
спасибо -понятно
что не заморачиваться можно купить
и у них в Украине
ценник гуманный
http://radioprofi.com.ua/shop/475/desc/tyt-md-380